In professional athletics, headlines such as “fastest race of all time” are becoming increasingly common. Not only is this a result of world records being broken at an increasing rate, but also because numerous athletes in each race are breaking standards previously reserved for only the very best.
In the recent World Athletics Championships in Tokyo, for the first time ever, eight men ran below 1:43 in a single 800m race, and five women ran below 1:56 in a single 800m race. Similar stories have been seen across all distances on the track.
For each major competition, World Athletics scores the performances of all competing athletes according to a standardised scoring table (Technical Information | Official Documents). These scores are then totalled to give an overall “performance score” of a championship. The graph below illustrates these calculated scores for all World Championships and Olympic Games since 2003, including the recent championships in Tokyo.

As highlighted in the graph, it is common for athletes to train on four-year cycles in order to peak for the Olympic Games. However, a further pattern is clear to see as results shifted from gradual improvements to sudden, rapid progress beginning in 2019. Coincidentally, the first prototypes of ‘super spikes’ began to make an appearance in competitive athletics in 2019. Further, MONDO unveiled their newest track surface at the time for the Tokyo 2021 Olympics. Both innovations, backed by intelligent patent strategies, likely contribute to the recent boom in athletic performance.
An updated version of MONDO’s Mondotrack WS athletics track was first implemented at the Tokyo 2021 Olympic Games, which scored 2000 points higher than any previous Olympic games. Notable world records, such as Karsten Warholm and Sydney Mclaughlin-Levrone in the men’s and women’s 400m hurdles, were set at these games.
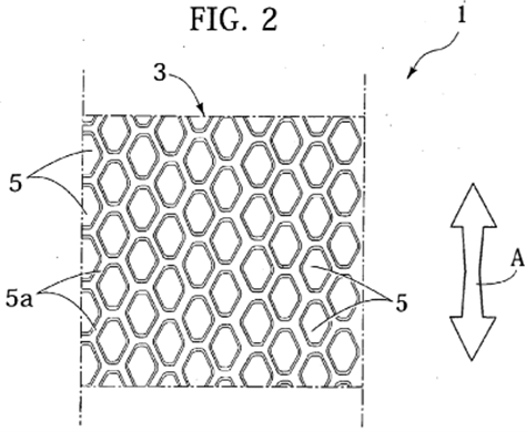
MONDO’s European patent EP2055833B1 titled “Athletic track for running” represents the innovations present in this track surface. The patent protects athletics track underlayer comprising elongated, directional cavities in an elastomer mesh.

These cavities (5) are aligned with the direction of running (A). The patent explains that the irregular hexagonal shape of the cavities creates softness across the width of the cavity, and rigidity along the length of the cavity. The softness allows for the athlete’s foot to “roll” naturally through a step, and the rigidity provides explosive forward motion, crucial for fast times. This design aims to balance comfort and performance: letting the foot move smoothly without sacrificing the stiffness needed for speed. This patent, granted in the US, Europe, and Japan, ensures that MONDO maintain their competitive edge, helping to secure contracts for major championships in years to come.
While sprint spikes were traditionally designed to be as light and thin as possible, those of the 2020s differ drastically, incorporating carbon fibre plates, air bubbles, and “super foams”.
Nike introduced their now infamous Vaporfly ‘super shoe’ back in 2016, revolutionising running shoes by introducing carbon fibre plates and lightweight polymer foams (read more about these innovations in our previous article here). Since then, Nike have continued to file patent applications covering many aspects of the super shoe and super spike technology. For example, Nike’s United States patent US9504292B2 protects a method of bonding a polyether block amide (PEBA) substrate to a second substrate. PEBA is already known for its low density, damping properties, energy return, and flexibility, and is therefore used as a high-performance foam in super shoes and spikes. However, by patenting methods of manufacture, Nike have added to their already existing portfolio to create a complex network of IP rights that competitors must carefully navigate to avoid infringing, thus helping to maintain their market position.

While the recent performance boom in athletics will also relate to improved nutrition, training plans, and recovery, there is little doubt that “field of play” technology is also contributing. With faster tracks and faster shoes, it should be little surprise that performances are improving across all distances. The only question that remains is: which world record will fall next?
If you are a sports technology company looking to protect your innovation in this field, consider getting in touch with our sports tech IP experts at gje@gje.com.